新西兰养老金法律指南:从RV获批那一刻起,你的“时间银行”已开户
我拿RV这几年算不算数?是不是要等到PR下来才开始计算养老金?”家叶海外这几年经手了上千新西兰移民案子,经常被客户问到这个问题。
今天,家叶将以专业法律视角,结合《2001年新西兰养老金和退休收入法案》(New Zealand Superannuation and Retirement Income Act 2001)及社会发展部(MSD)的现行政策,为你厘清新西兰养老金制度的法律本质——你的“养老金时钟”,从你获得居民签证(RV)的那一刻已经开始滴答作响。

一、法定资格要件:三项必须同时满足的法律门槛
根据《2001年新西兰养老金和退休收入法案》第7条和第8条,领取新西兰养老金的申请人必须同时满足以下三项法定要件:
(一)年龄要件
申请人须年满65周岁。这是一个刚性的法定门槛,不存在提前领取或延迟增加的法理依据。法案第7条明确规定:“年龄资格为65岁”。
(二)身份要件
申请人必须是以下身份之一:
新西兰公民
新西兰永久居民(PR)
持有有效居民签证(RV)
值得注意的是,法案原文使用的是“residence class visa”(居民类签证),该定义在《2009年移民法》第4条中明确涵盖“resident visa”和“permanent resident visa”。这意味着,RV持有人在法律地位上已被纳入养老金保障体系。

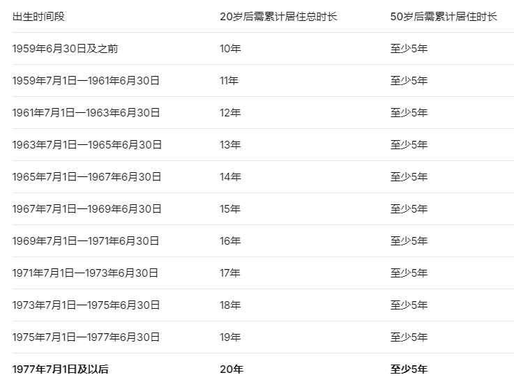
(三)居住要件——本文的核心
申请人须自年满20周岁起,在新西兰满足特定的“居住且实际在场”(resident and present)年限。具体要求如下表所示:

数据来源:新西兰社会发展部《老年人服务指南》2025年4月版
二、居住年限计算的“时间起算点”:RV vs.PR的法律辨析
(一)核心法律原则:合法居住始于RV获批之日
根据Work and Income政策手册《居住期间的计算》(Calculating the period of residence)的明确规定:“居住期间自该人作为新西兰公民或居民类签证持有人合法居住在新西兰之日起计算。”
该政策进一步明确:“临时入境类签证(如学生签证、访客签证、工作签证)在新西兰合法居留的时间,通常不计入居住期间。”
这一规定的法律依据来自《2018年社会安全法》第16条(居住要求)和第19条(领取福利的一般限制),后者明确禁止持有临时入境类签证的人士领取福利。
(二)法律释义:RV为何是“元年”
从法律解释学角度,这一规定包含三层含义:
时间起算:你的“养老金居住时钟”从移民局批准你的居民签证(RV)、你实际登陆并开始居住的那一天开始计时。
身份连续性:当你后续换取永久居民签证(PR)时,时间不重置、不中断,RV期间的时间累加计算。
临时签证排除:工签、学签、旅游签期间的时间,法律上视为“不存在”于养老金计算中。
(三)为什么法律如此设计?
立法者的考量在于:居民签证是永久居留权的“前身”,持有人已经通过移民审核,表明其有意在新西兰长期定居。从获批RV那一刻起,你就开始对这个国家的税收和社会保障体系产生潜在的贡献,因此也应开始累积未来领取养老金的权利。
三、法律实务中的“陷阱”与“例外”
(一)离境对居住连续性的影响
如果你获批RV后长期离境(如回国居住),这段时间不计入“居住且实际在场”期间。法案第9条专门规定了“各种缺席期间的处理方式”。
根据政策,短期离境(如度假)通常不影响居住计算,但生活重心不在新西兰的长期离境,会被排除在居住时间之外。
(二)社保协议:海外居住时间的“折算抵扣”
对于有多国居住史的客户,这是个重要利好。新西兰与以下国家签订了双边社会保障协议(Social Security Agreement),你在这些国家的居住时间可折算抵扣新西兰的居住年限要求:
澳大利亚
加拿大
丹麦
爱尔兰
泽西岛
根西岛
希腊
马耳他
荷兰
韩国
英国
实务提示:如果你在以上国家居住过,申请时必须主动申报,MSD国际服务团队(International Services Team)会协助你进行折算计算。
特别警示:美国目前与新西兰没有社保协议,因此在美国的居住时间无法折算。
(三)难民及受保护人士的特殊条款
法案第8A条专门规定了“难民或受保护人士的特殊总时间要求”。如果你的难民身份获批时已满45岁,居住年限要求可适当减免,具体以MSD个案评估为准。
四、2025-2026年度养老金支付标准(税前)
根据MSD 2025年4月1日生效的最新费率:

重要法律提示:
上述金额为税前,实际发放时需按IRD规定的税率代扣税款
新西兰养老金不进行资产审查(no asset test),无论你有多少存款、房产或海外收入,只要满足年龄和居住条件即可领取全额
但如果你有其他收入,可能影响税码选择和额外补贴(如住房补贴、残疾人津贴)的资格
五、离境后的养老金领取规则
(一)短期离境(26周以内)
如果你已领取养老金,短期离境不超过26周,养老金可正常发放。但若离境超过30周未归,可能需要退还离境期间收到的全部款项。
(二)移居太平洋国家
新西兰与22个太平洋国家签订了特殊安排,如果你移居这些国家且居住超过52周,仍可继续领取养老金。具体包括:库克群岛、纽埃、托克劳、斐济、萨摩亚、汤加、巴布亚新几内亚等。
领取比例根据20岁后在新西兰居住年限计算:
居住满10年:领取最高税率的50%
居住满20年:领取最高税率(100%)
(三)移居社保协议国家
如果你移居澳大利亚、英国、加拿大等有社保协议的国家,可能可以继续领取全部或部分新西兰养老金,具体取决于该国协议条款。移居英国是例外——新西兰养老金不能支付给英国居民,但你可能有资格申请英国的国家养老金。
(四)移居无协议国家
如果你移居既无社保协议、也不属于太平洋特殊安排的国家,养老金将停止支付。

六、给新移民的法律建议
建议一:保存“时间起算”的证据链
请务必保存好以下文件,作为未来申请时的证据:
首次持RV签证入境新西兰的护照出入境章(或电子签证记录)
首次入境的机票或电子行程单
入境后开设银行账户、租房合同等生活重心证明
建议二:计算你的“退休时间表”
根据你的出生年份和移民时间,制作一张退休时间表:
假设你1978年出生(需住满20年),2025年获批RV,那么你最早可在65岁(2043年)申请,前提是这期间你在新西兰累计住满20年
如果中间有长期离境,退休时间相应顺延
建议三:50岁后移民的“黄金五年”预警
如果你55岁才获批RV,那么必须从55岁住到60岁(累计5年),且总年限满足要求,才能从65岁开始领取。这意味着你实际上要等到70岁才能领到钱。这部分客户应提前做好商业养老金规划。
建议四:主动申报海外养老金
如果你在海外有资格领取养老金(如中国的社保养老金、英国的国家养老金),申请NZ Super时必须主动申报。根据“直接抵扣政策”,海外养老金收入将等额抵扣新西兰养老金。隐瞒不报可能导致追偿甚至刑事指控。
建议五:及时申请,避免损失
你可以在65岁生日前12周开始申请养老金。如果65岁后申请,养老金仅从申请之日起算,之前的月份不予追溯。
最后,从法律角度看,新西兰养老金是一项基于公民身份/居民身份和居住年限的普惠型社会保障权利,而非基于个人缴费的保险制度。你的权利,始于你获得居民签证(RV)并在这片土地上安家的那一天。
作为移民律师,我建议每一位新移民都建立一份“养老金时间账本”,记录你的入境时间、离境期间,并在临近65岁时提前咨询专业意见。毕竟,这笔每月上千纽币的收入,是你未来晚年生活的重要保障。
(本文依据《2001年新西兰养老金和退休收入法案》、新西兰社会发展部2025年4月版政策及Work and Income官网最新资料撰写于2026年02月,仅作法律知识普及,不构成个案法律意见。具体申请请咨询持牌移民顾问或律师。)












